Primjene
Kontaktirajte nas
Spiroflex d.o.o.
Ljudevita Gaja 7
35 208 Ruščica
Hrvatska
Telefon: +385 35 212 432
e-mail: info@spiroflex.hr
Poprečni kompenzatori za primjenu na pumpama
Uvod
Pumpe, kompresori, hidraulički strojevi i slični agregati proizvode vibracije i buku koja se prenosi na cjevovode, instalacije i opremu. Mjehovi spojeva na pumpama projektirani su kao višeslojni umjesto jednog debljeg sloja. Višeslojni dizajn omogućava manju opružnu silu a posljedica je veća fleksibilnost.
Oni se preporučuju za primjenu kod vibracija i izraženog cikličkog gibanja.
Pomaci
Ovi kompenzatori prihvaćaju samo poprečne pomake u svim smjerovima i nisu prikladni za aksijalne pomake.
Strukturna građa lateralnih kompenzatora
Mijeh
- Materijal: DIN EN 1.4541 ili 1.4571
- Višeslojni laminirani mijeh
- Mijeh zavaren na prirubnice ili kompenzator sa slobodnim prirubnicama
Prirubnice
- Materijali: Ugljični čelik ili nehrđajući čelik
- Zavarene ili slobodne prirubnice
Sprezni vijci
- Ugljični čelik ili nehrđajući čelik
Primjena
- Smanjuju napetosti, vibracije, naprezanja na pumpe, kompresore, turbine, strojeve i gorionike
- Za male netočnosti između cjevovoda i pumpe ili ostale opreme
- Za kompenzaciju nesukladnosti temelja i pomaka opreme
- Instaliranje u sustave za dobavu vode i plina
- Instaliranje u sustave grijanja, ventilacije i klimatizacije
- Instaliranje u sustave dobave pitke vode i obrade otpadnih voda
- Poprečni kompenzatori prihvaćaju male toplinske pomake cjevovoda i opreme
Prednosti poprečnih kompenzatora
- Otporni na tlakove i temperature
- Fleksibilnost
- Brzo i lagano instaliranje
- Otpornost na koroziju
- Otpornost na vakuum
- Sigurnost u radu
- Dugi životni vijek
- Nije potrebno održavanje
Instaliranje
Kompenzator treba instalirati na prirubnicu agregata. Spiroflex preporučuje ugradnju čvrste točke poslije kompenzatora, što bliže istome. Instaliranjem čvrste točke cjevovod će biti zaštićen od vibracija i buke.
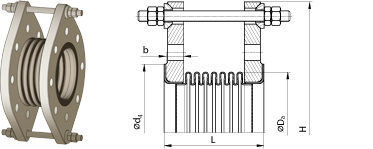
Poprečni kompenzatori
Tip: STF
PN10 Projektni tlak - standardni program
| NO | Poprečni pomak | Ugrad. duljina | Popr. opružna sila | Brtvena površina | Vanjski prom. | Visina prir. | Debljina prir. | Masa | |
| Ukupno mm | ±mm | L mm |
N/mm | d4 mm |
ØDa mm |
H mm |
b mm |
kg | |
| 40 | 16 | 8 | 105 | 47 | 88 | 65 | 220 | 18 | 9 |
| 50 | 17 | 8,5 | 130 | 39 | 102 | 80 | 240 | 19 | 11 |
| 65 | 18 | 9 | 145 | 50 | 122 | 96 | 260 | 20 | 13 |
| 80 | 16 | 8 | 140 | 55 | 138 | 115 | 280 | 22 | 16 |
| 100 | 18 | 9 | 170 | 91 | 158 | 140 | 295 | 25 | 20 |
| 125 | 16 | 8 | 180 | 158 | 188 | 168 | 340 | 28 | 24 |
| 150 | 14 | 7 | 180 | 265 | 212 | 195 | 370 | 28 | 24 |
| 200 | 10 | 5 | 195 | 625 | 268 | 260 | 465 | 32 | 30 |
| 250 | 8 | 4 | 200 | 1210 | 320 | 315 | 520 | 35 | 36 |
| 300 | 10 | 5 | 240 | 2205 | 370 | 380 | 625 | 40 | 48 |
Tablica se odnosi na uvjete +20°C, materijal mijeha DIN EN 1.4541, 1.000 punih ciklusa. Za specijalni zahtjev molimo upit.
PN16 Projektni tlak - standardni program
| NO | Poprečni pomak | Ugrad. duljina | Popr. opružna sila | Brtvena površina | Vanjski prom. | Visina prir. | Debljina prir. | Masa | |
| Ukupno mm | ±mm | L mm |
N/mm | d4 mm |
ØDa mm |
H mm |
b mm |
kg | |
| 40 | 16 | 8 | 110 | 74 | 88 | 65 | 220 | 18 | 40 |
| 50 | 16 | 8 | 125 | 37 | 102 | 80 | 240 | 19 | 50 |
| 65 | 16 | 8 | 140 | 82 | 122 | 96 | 275 | 20 | 65 |
| 80 | 18 | 9 | 160 | 126 | 138 | 117 | 290 | 22 | 80 |
| 100 | 18 | 9 | 180 | 142 | 158 | 144 | 310 | 25 | 100 |
| 125 | 16 | 8 | 185 | 295 | 188 | 175 | 375 | 28 | 125 |
| 150 | 13 | 6,5 | 185 | 490 | 212 | 205 | 410 | 28 | 150 |
| 200 | 10 | 5 | 195 | 975 | 268 | 260 | 465 | 32 | 200 |
| 250 | 8 | 4 | 210 | 1825 | 320 | 310 | 590 | 40 | 250 |
| 300 | 9 | 4,5 | 230 | 3720 | 378 | 385 | 670 | 40 | 300 |
Tablica se odnosi na uvjete +20°C, materijal mijeha DIN EN 1.4541, 1.000 punih ciklusa. Za specijalni zahtjev molimo upit.






